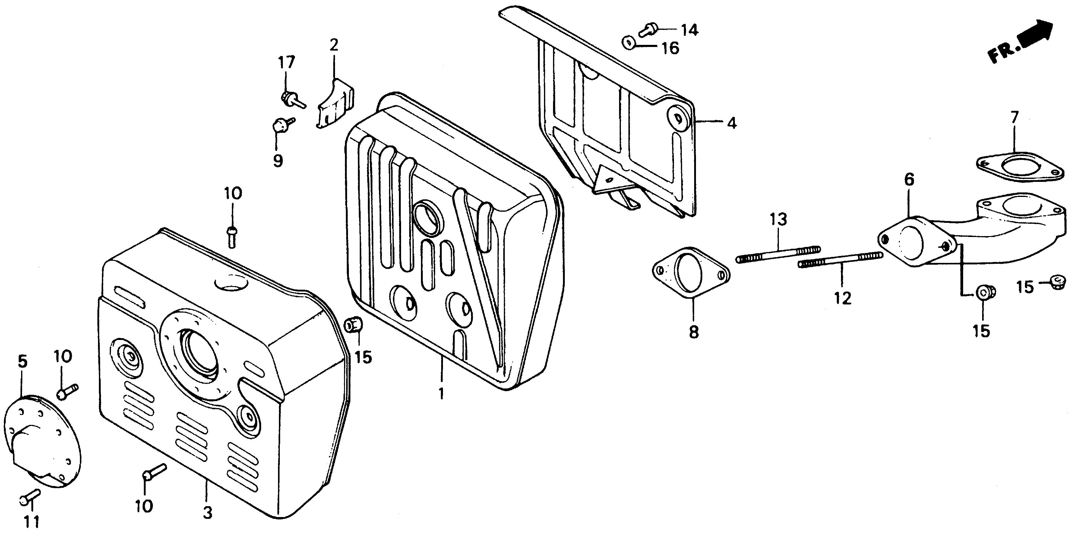
Commercial Mowers (36" - 48") HRC HRC7013 HRC7013K1 ZXA CPH1-2000001-9999999 MUFFLER - N B Sales & Service

Ref No
Part Number
Description
Serial Range
Qty
Price

Ref No
1
Part Number
18310-ZE9-003
Description
MUFFLER (NOT AVAILABLE)
Serial Range
3000000 - 9999999

Ref No
2
Part Number
18318-ZE8-000
Description
STAY, MUFFLER
Serial Range
1000001 - 9999999
Qty
Price
$10.92

Ref No
3
Part Number
18321-ZF5-010
Description
PROTECTOR, MUFFLER
Serial Range
1000001 - 9999999
Qty
Price
$14.36

Ref No
4
Part Number
18325-ZE9-010
Description
SEPARATOR, MUFFLER
Serial Range
1000001 - 9999999
Qty
Price
$29.74

Ref No
5
Part Number
18331-ZE2-810
Description
CAP, MUFFLER
Serial Range
1000001 - 9999999
Qty
Price
$11.06

Ref No
6
Part Number
18331-ZF5-000
Description
PIPE, EX.
Serial Range
1000001 - 9999999
Qty
Price
$75.48

Ref No
7
Part Number
18333-ZE3-800
Description
GASKET, EX. PIPE
Serial Range
1000001 - 9999999

Ref No
7
Part Number
18333-ZK6-Y00
Description
GASKET, EX. PIPE
Serial Range
1000001 - 9999999
Qty
Price
$4.90

Ref No
8
Part Number
18382-ZE9-800
Description
GASKET, EX. PIPE
Serial Range
1000001 - 9999999
Qty
Price
$12.64

Ref No
9
Part Number
90031-883-000
Description
BOLT, FLANGE (8X16)
Serial Range
1000001 - 9999999
Qty
Price
$5.58

Ref No
10
Part Number
90050-ZE1-000
Description
SCREW, TAPPING (5X8)
Serial Range
1000001 - 9999999
Qty
Price
$1.98

Ref No
11
Part Number
90055-ZE1-000
Description
SCREW, TAPPING (4X6)
Serial Range
1000001 - 9999999

Ref No
12
Part Number
92900-08060-1B
Description
BOLT, STUD (8X60)
Serial Range
1000001 - 9999999
Qty
Price
$3.68

Ref No
13
Part Number
92900-08070-1B
Description
BOLT, STUD (8X70)
Serial Range
1000001 - 9999999
Qty
Price
$3.52

Ref No
14
Part Number
93500-06006-0A
Description
SCREW, PAN (6X6)
Serial Range
1000001 - 9999999
Qty
Price
$1.04

Ref No
15
Part Number
94050-08000
Description
NUT, FLANGE (8MM)
Serial Range
1000001 - 9999999

Ref No
16
Part Number
94101-06800
Description
WASHER, PLAIN (6MM)
Serial Range
1000001 - 9999999
Qty
Price
$0.80

Ref No
17
Part Number
95701-08014-00
Description
BOLT, FLANGE (8X14)
Serial Range
1000001 - 9999999
Qty
Price
$1.60