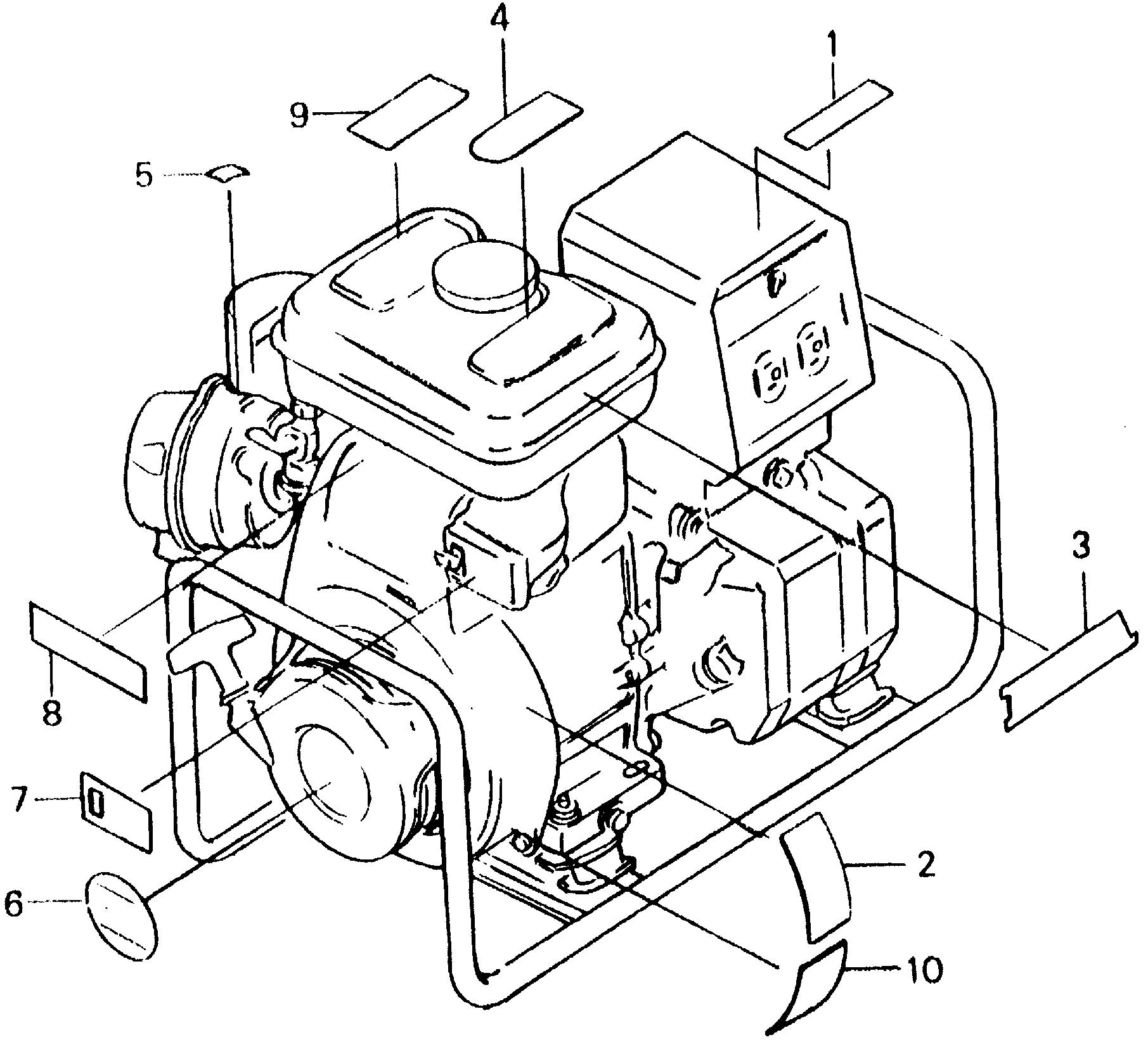
Generators EG EG2200 EG2200Z A GE200-1036167-9999999 LABELS - N B Sales & Service

Ref No
Part Number
Description
Serial Range
Qty
Price

Ref No
1
Part Number
87101-ZA6-820
Description
EMBLEM
Serial Range
1000001 - 9999999

Ref No
2
Part Number
87151-ZA6-830
Description
PLATE, CAUTION (EG2200Z)
Serial Range
1000001 - 9999999

Ref No
3
Part Number
87501-ZA5-000
Description
EMBLEM, FUEL TANK (NOT AVAILABLE)
Serial Range
1000001 - 9999999

Ref No
4
Part Number
87522-883-660
Description
MARK, CAUTION (ENGLISH/FRENCH/SPANISH)
Serial Range
1000001 - 9999999
Qty
Price
$4.86

Ref No
5
Part Number
87528-883-680
Description
MARK, CHOKE
Serial Range
1000001 - 9999999
Qty
Price
$1.60

Ref No
6
Part Number
87531-883-890
Description
LABEL, OIL ALERT
Serial Range
1000001 - 9999999
Qty
Price
$2.78

Ref No
7
Part Number
87532-898-840
Description
MARK, OIL ALERT UNIT SWITCH
Serial Range
1000001 - 9999999

Ref No
8
Part Number
87548-898-820
Description
LABEL, CAUTION
Serial Range
1000001 - 9999999

Ref No
9
Part Number
87561-880-600
Description
MARK, CAUTION (ENGLISH/FRENCH/SPANISH)
Serial Range
1000001 - 9999999
Qty
Price
$5.40

Ref No
10
Part Number
87594-ZA5-000
Description
MARK, OIL CAUTION
Serial Range
1000001 - 9999999