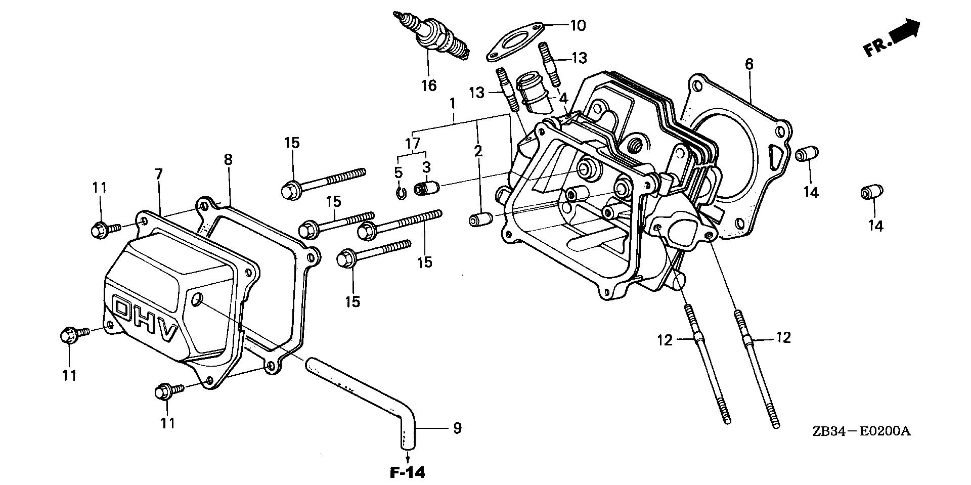
Generators EM EM1800 EM1800X A GX140-1000001-3263982 CYLINDER HEAD - N B Sales & Service

Ref No
Part Number
Description
Serial Range
Qty
Price

Ref No
1
Part Number
122A0-ZE1-000
Description
CYLINDER HEAD (NOT AVAILABLE)
Serial Range
1000001 - 1206239

Ref No
1
Part Number
122A0-ZE1-010
Description
CYLINDER HEAD
Serial Range
1206240 - 1369812

Ref No
1
Part Number
122A0-ZE1-020
Description
CYLINDER HEAD (NOT AVAILABLE)
Serial Range
1369813 - 9999999

Ref No
2
Part Number
12204-ZE1-305
Description
GUIDE, VALVE (OVER SIZE)
Serial Range
1000001 - 9999999

Ref No
3
Part Number
12205-ZE1-305
Description
GUIDE, EX. VALVE (OVER SIZE)
Serial Range
1000001 - 1369812

Ref No
4
Part Number
12211-ZE1-000
Description
LINER, PORT (NOT AVAILABLE)
Serial Range
1369813 - 9999999

Ref No
5
Part Number
12216-ZE5-300
Description
CLIP, VALVE GUIDE
Serial Range
1369813 - 9999999
Qty
Price
$1.68

Ref No
6
Part Number
12251-ZE1-800
Description
GASKET, CYLINDER HEAD
Serial Range
1000001 - 9999999
Qty
Price
$12.02

Ref No
7
Part Number
12310-ZE1-020
Description
COVER, HEAD
Serial Range
1000001 - 9999999
Qty
Price
$19.46

Ref No
8
Part Number
12391-ZE1-000
Description
GASKET, HEAD COVER
Serial Range
1000001 - 9999999

Ref No
9
Part Number
15721-732-000
Description
TUBE, BREATHER (NOT AVAILABLE)
Serial Range
1000001 - 9999999

Ref No
10
Part Number
18381-ZE1-801
Description
GASKET, MUFFLER
Serial Range
1000001 - 9999999
Qty
Price
$4.30

Ref No
11
Part Number
90013-883-000
Description
BOLT, FLANGE (6X12) (CT200)
Serial Range
1000001 - 1049824

Ref No
11
Part Number
90016-ZE1-000
Description
BOLT, FLANGE (6X13) (CT200)
Serial Range
1049825 - 9999999
Qty
Price
$3.52

Ref No
12
Part Number
90043-883-681
Description
BOLT, STUD (6X89)
Serial Range
1206240 - 1472704
Qty
Price
$6.78

Ref No
12
Part Number
90043-ZB2-000
Description
BOLT, STUD (6X89) (NOT AVAILABLE)
Serial Range
1000001 - 1206239

Ref No
12
Part Number
90043-ZB2-003
Description
BOLT, STUD (6X94)
Serial Range
1472705 - 9999999
Qty
Price
$6.38

Ref No
13
Part Number
90047-ZE1-000
Description
BOLT, STUD (8X32)
Serial Range
1206240 - 9999999
Qty
Price
$4.34

Ref No
14
Part Number
94301-10160
Description
PIN, DOWEL (10X16)
Serial Range
1000001 - 9999999
Qty
Price
$3.00

Ref No
15
Part Number
95723-08060-00
Description
BOLT, FLANGE (8X60)
Serial Range
1000001 - 9999999
Qty
Price
$2.28

Ref No
16
Part Number
98079-56846
Description
SPARK PLUG (BPR6ES) (NGK)
Serial Range
1000001 - 9999999
Qty
Price
$2.98

Ref No
16
Part Number
98079-56855
Description
SPARK PLUG (W20EPR-U) (DENSO)
Serial Range
1000001 - 9999999
Qty
Price
$3.20