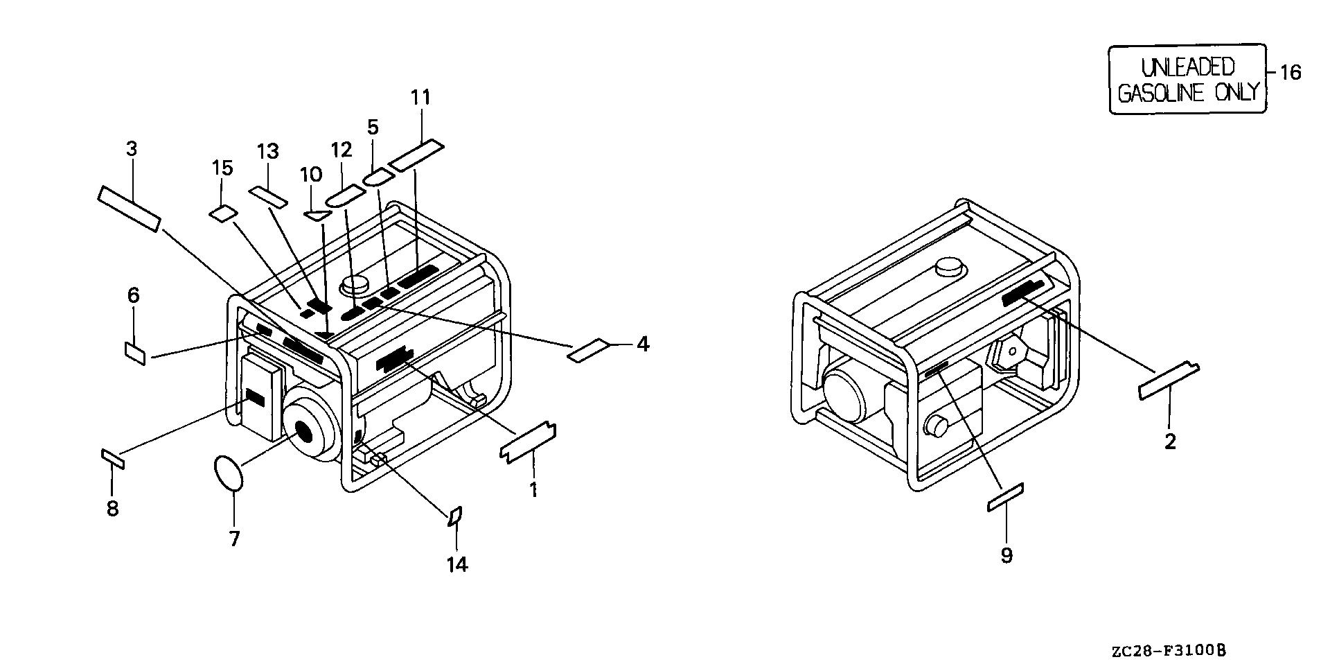
Generators EW EW171 EW171 AR EB1-1000001-1099999 LABELS - N B Sales & Service

Ref No
Part Number
Description
Serial Range
Qty
Price

Ref No
1
Part Number
87102-ZC2-800
Description
MARK, EMBLEM (EW) (NOT AVAILABLE)
Serial Range
1000001 - 9999999

Ref No
2
Part Number
87103-ZB4-000
Description
MARK, HONDA (NOT AVAILABLE)
Serial Range
1000001 - 9999999

Ref No
3
Part Number
87152-ZC2-830
Description
PLATE, CAUTION (NOT AVAILABLE)
Serial Range
1000001 - 9999999

Ref No
4
Part Number
87168-ZC3-630
Description
LABEL, RAIN WARNING (ENGLISH)
Serial Range
1003887 - 9999999
Qty
Price
$5.22

Ref No
5
Part Number
87522-883-660
Description
MARK, CAUTION (ENGLISH/FRENCH/SPANISH)
Serial Range
1115969 - 9999999
Qty
Price
$4.86

Ref No
6
Part Number
87528-898-620
Description
MARK, CHOKE
Serial Range
1115969 - 9999999
Qty
Price
$2.14

Ref No
7
Part Number
87530-ZB4-000
Description
MARK, OIL ALERT (NOT AVAILABLE)
Serial Range
1000001 - 9999999

Ref No
8
Part Number
87533-ZC0-630
Description
MARK, AIR CLEANER (ENGLISH)
Serial Range
1102291 - 9999999
Qty
Price
$3.96

Ref No
9
Part Number
87539-898-620
Description
MARK, EX. CAUTION (ENGLISH/FRENCH)
Serial Range
1115969 - 9999999
Qty
Price
$3.96

Ref No
10
Part Number
87560-ZA0-Y00
Description
LABEL, RENTAL USE (E) (NOT AVAILABLE)
Serial Range
1115969 - 9999999

Ref No
11
Part Number
87561-880-600
Description
MARK, CAUTION (ENGLISH/FRENCH/SPANISH)
Serial Range
1000001 - 9999999
Qty
Price
$5.40

Ref No
12
Part Number
87563-ZB4-631
Description
LABEL, CONNECT WARNING (ENGLISH)
Serial Range
1115969 - 9999999
Qty
Price
$6.62

Ref No
13
Part Number
87565-ZA7-000
Description
MARK, FUEL METER
Serial Range
1115969 - 9999999
Qty
Price
$5.60

Ref No
14
Part Number
87594-ZB4-620
Description
MARK, OIL CAUTION
Serial Range
1000001 - 9999999
Qty
Price
$5.16