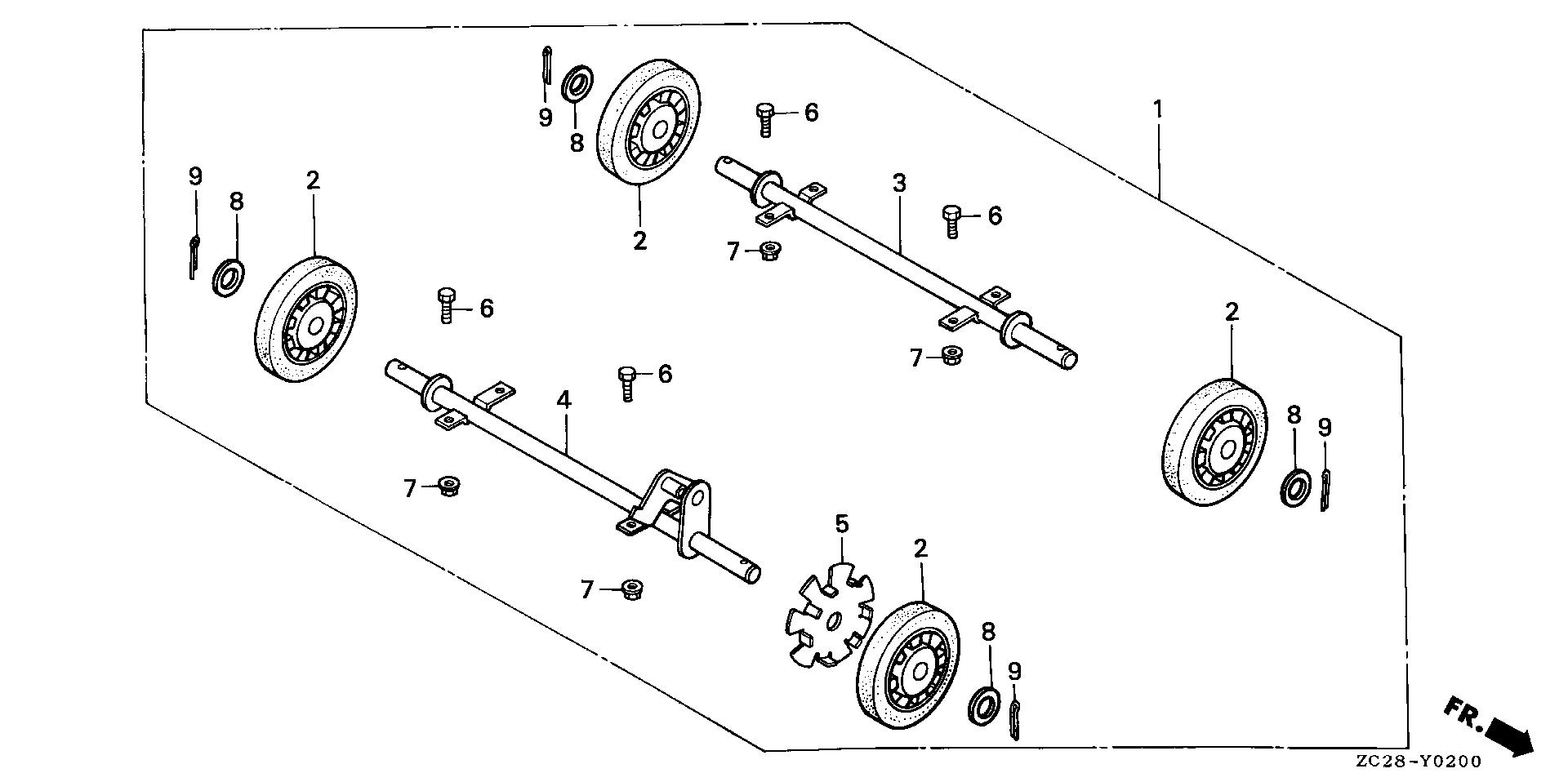
Generators EW EW171 EW171 AR EB1-1000001-1099999 WHEELS (4-WHEEL) - N B Sales & Service

Ref No
Part Number
Description
Serial Range
Qty
Price

Ref No
1
Part Number
06710-ZB4-010
Description
WHEEL KIT (4-WHEELS)
Serial Range
1000001 - 9999999
Qty
Price
$143.14

Ref No
2
Part Number
42710-862-010
Description
WHEEL
Serial Range
1000001 - 9999999

Ref No
3
Part Number
42730-ZB4-000
Description
SHAFT, R. WHEEL
Serial Range
1000001 - 9999999
Qty
Price
$153.84

Ref No
4
Part Number
42740-ZB4-000
Description
SHAFT, L. WHEEL
Serial Range
1000001 - 9999999
Qty
Price
$198.76

Ref No
5
Part Number
42753-880-810
Description
PLATE, LOCK
Serial Range
1000001 - 9999999

Ref No
6
Part Number
92101-08016-0A
Description
BOLT, HEX. (8X16)
Serial Range
1000001 - 9999999
Qty
Price
$1.80

Ref No
7
Part Number
94050-08000
Description
NUT, FLANGE (8MM)
Serial Range
1000001 - 9999999

Ref No
8
Part Number
94102-20000
Description
WASHER, PLAIN (20MM)
Serial Range
1000001 - 9999999
Qty
Price
$1.26

Ref No
9
Part Number
94201-40280
Description
PIN, SPLIT (4.0X28)
Serial Range
1000001 - 9999999
Qty
Price
$1.26

Ref No
9
Part Number
94201-40300
Description
PIN, SPLIT (4.0X30)
Serial Range
1000001 - 9999999
Qty
Price
$1.26