Ref No
Part Number
Description
Serial Range
Qty
Price
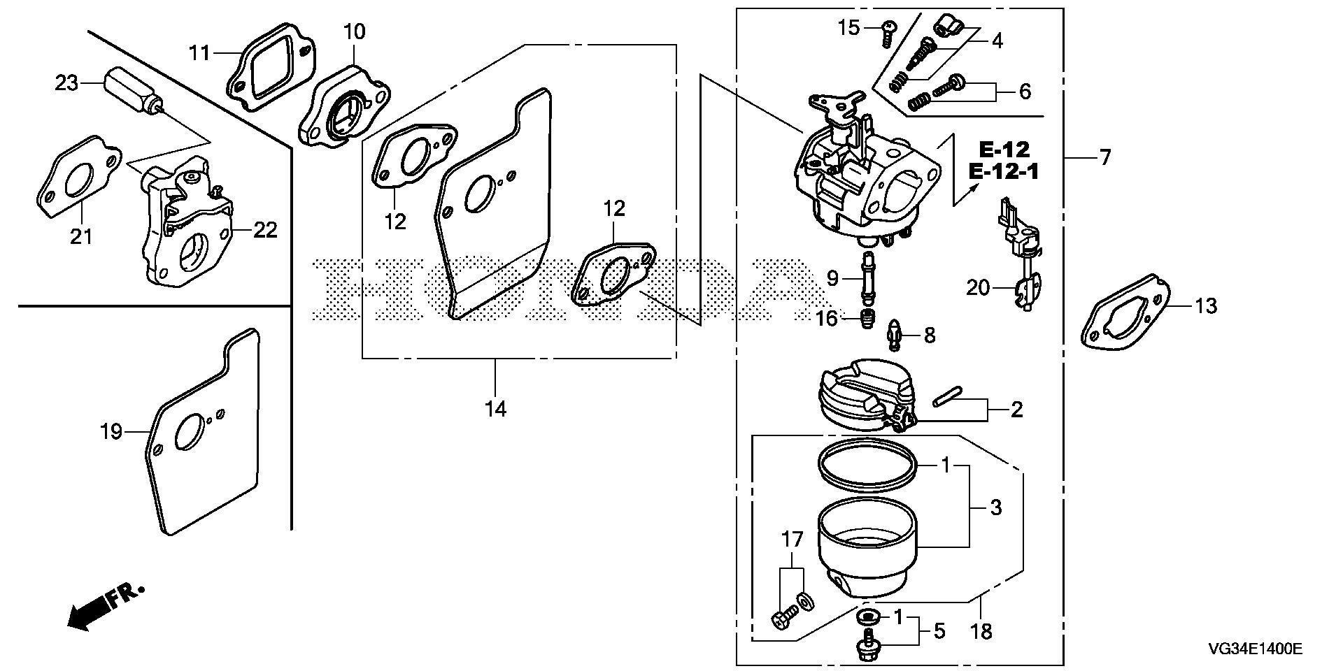
Ref No 1
Part Number 16010-883-015
Description GASKET SET
Serial Range 1000001 - 9999999
Ref No 2
Part Number 16013-ZL1-003
Description FLOAT SET
Serial Range 1000001 - 9999999
Qty
Price $31.34
Add To Cart
Ref No 3
Part Number 16015-892-015
Description CHAMBER SET, FLOAT (CARBURETOR NO.)
Serial Range 1000001 - 9999999
Ref No 4
Part Number 16016-ZG0-W00
Description SCREW SET
Serial Range 1000001 - 9999999
Qty
Price $12.30
Add To Cart
Ref No 5
Part Number 16028-ZE0-005
Description SCREW SET
Serial Range 1000001 - 9999999
Ref No 5
Part Number 16028-ZK7-S91
Description SCREW SET
Serial Range 1000001 - 9999999
Qty
Price $13.14
Add To Cart
Ref No 6
Part Number 16029-ZG0-901
Description SCREW SET (THROTTLE STOP)
Serial Range 1000001 - 9999999
Qty
Price $11.20
Add To Cart
Ref No 7
Part Number 16100-Z0L-023
Description CARBURETOR ASSY. (BB62W C)
Serial Range 1676296 - 9999999
Ref No 7
Part Number 16100-ZM0-802
Description CARBURETOR ASSY. (BB62B C)
Serial Range 1000001 - 1676295
Ref No 8
Part Number 16155-ZM0-003
Description VALVE, FLOAT (CARBURETOR NO.)
Serial Range 2045740 - 9999999
Qty
Price $29.94
Add To Cart
Ref No 9
Part Number 16166-ZM0-003
Description NOZZLE, MAIN (CARBURETOR NO.)
Serial Range 1000001 - 9999999
Qty
Price $21.04
Add To Cart
Ref No 10
Part Number 16211-ZL8-000
Description INSULATOR, CARBURETOR
Serial Range 1000001 - 9999999
Qty
Price $4.20
Add To Cart
Ref No 11
Part Number 16212-ZL8-000
Description GASKET, INSULATOR
Serial Range 1864264 - 9999999
Qty
Price $7.22
Add To Cart
Ref No 12
Part Number 16221-883-800
Description GASKET, CARBURETOR
Serial Range 1000001 - 9999999
Ref No 13
Part Number 16228-ZL8-000
Description GASKET, CARBURETOR
Serial Range 6349023 - 9999999
Ref No 14
Part Number 19650-ZM0-000
Description GUIDE, AIR
Serial Range 1000001 - 9999999
Qty
Price $9.24
Add To Cart
Ref No 15
Part Number 93500-05006-0H
Description SCREW, PAN (5X6)
Serial Range 6349023 - 9999999
Qty
Price $0.80
Add To Cart
Ref No 16
Part Number 99101-124-0600
Description JET, MAIN (#60) (CARBURETOR NO.)
Serial Range 1000001 - 9999999
Qty
Price $12.26
Add To Cart
Ref No 16
Part Number 99101-124-0620
Description JET, MAIN (#62) (CARBURETOR NO.)
Serial Range 1000001 - 9999999
Qty
Price $10.98
Add To Cart
Ref No 16
Part Number 99101-124-0650
Description JET, MAIN (#65)
Serial Range 1000001 - 9999999
Qty
Price $12.30
Add To Cart
Ref No 17
Part Number 16024-ZE1-811
Description SCREW SET, DRAIN (CARBURETOR NO.)
Serial Range 1000001 - 9999999
Qty
Price $10.28
Add To Cart
Ref No 18
Part Number 16015-887-782
Description CHAMBER SET, FLOAT (CARBURETOR NO.)
Serial Range 1000001 - 9999999
Qty
Price $33.12
Add To Cart